Kühlkörper (Restbestände) für Weißblechgehäuse
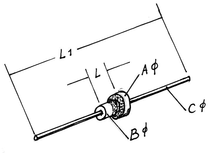
Durchführungskondensatoren
- zum einlöten für Weißblechgehäuse
- bis 200V- (DC)
- Prüfspannung 320V - (DC)
- AØ=3,8; BØ=2,3; CØ=0,75;L=4;L1=56
- Preisnachlass ab 10, 50 und 100 Stück
Produktvarianten
Preisliste Preisliste versteckenFerritstab
- 10mm Ø, 100mm lang
- bis 30Mhz verwendbar
- Mengenrabatt bereits ab 10 Stück
- nur solange der Vorrat reicht
Produktvarianten
Preisliste Preisliste verstecken